|
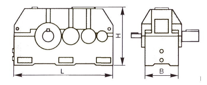
Типоразмер редуктора |
1Ц3НУ–355Ж |
|
Межосевое расстояние выходной ступени, мм |
355 |
|
Диапазон номинальных передаточных чисел |
31,5-200 |
|
Номинальный крутящий момент, Н·м |
12000-15000 |
|
КПД, % |
97 |
|
Масса, не более, кг |
750 |

|
Типоразмер |
1Ц3НУ–355Ж |
|
||||||||||
|
Номинальное передаточное отношение |
31,5 |
40 |
50 |
63 |
80 |
100 |
125 |
160 |
200 |
|
||
|
Номинальный крутящий момент на выходном валу, Н·м min/max |
12000/15000 |
|
|
|||||||||
|
Номинальная передаваемая мощность, кВт, max/min |
60/12 |
|
|
|||||||||
|
Варианты сборки |
11,12,13,14,15,16,21,22,23,24,25,26,31,32,33,34,35,36 |
|
|
|||||||||
|
Межосевое расстояние, мм |
входной ступени |
140 |
|
|||||||||
|
промежуточной ступени |
225 |
|
||||||||||
|
выходной ступени |
355 |
|
||||||||||
|
Масса, не более, кг |
750 |
|
||||||||||
Основные изменения внесены в систему обеспечения смазки, контроля и регулировки подшипниковых узлов и зубчатых колес редуктора.
Редуктор цилиндрический трехступенчатый горизонтальный с передачами Новикова типа 1Ц3НУ-355Ж (далее редуктор) предназначен для использования в качестве привода конвейера специального железнодорожного подвижного состава ПСС-1, ПСС-2. Допускается использование редуктора в приводах другихмашин и механизмов для изменения крутящего момента и частоты вращения.
Редуктор применяется в следующих условиях:
- - нагрузка постоянная или переменная, одного направления или реверсивная;
- - работа длительная (до 24ч. в сутки) или с периодическими остановками;
- - вращение валов в любую сторону; - частота вращения входного вала 700 - 1500 об/мин;
- - атмосфера типов I и II по ГОСТ 15150 при запыленности воздуха не более 10 мг/м3 ;
- - климатические исполнения по ГОСТ 15150: У и Т для категорий размещения 1, 2, 3;
УХЛ и О для категории размещения 4. Редуктор предназначены для работы в повторно-кратковременных режимах, т.е. при переменных нагрузках с периодическими остановками; допускается длительная работа с постоянной нагрузкой при ограничении по термической мощности, а при передаче большей мощности требуется циркуляционная-струйная проточная смазка для охлаждения. Конструкция редуктора допускает установку только в горизонтальном положении, опорной плоскостью вниз.